Подключение АТОЛ 20Ф к компьютеру: инструкция
Фискальный регистратор Атол 20Ф является одним из элементов системы обслуживания клиентов с использованием ККТ. Он подключается к компьютеру, в результате чего появляется возможность формировать и учитывать финансовые операции, а также создавать отдельные документы по ним.
Общая подготовка устройства к работе
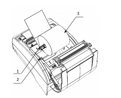
1. Заправка бумажной ленты
Рулон с лентой, удерживая в руке, установите точно в предусмотренное место. Его нельзя протягивать вручную при закрытой крышке или работе принтера.
а) При горизонтальном расположении аппарата
- Нажмите боковую кнопку 1, слегка удерживая верхнюю часть, что позволит открыть крышку 2.
- В лоток установите рулон 3 термочувствительным покрытием снаружи.
- Вытяните наружу свободный конец ленты 4, чтобы проверить лёгкость промотки, и отпустите.
- Захлопните крышку, проверьте, чтобы кнопка приняла исходное положение.
- Включите устройство, чтобы напечатать пробный документ.
б) При вертикальном размещении принтера Атол.

- Вставьте цилиндрическую ось в центральное отверстие скрученной ленты, поместите в паз.
- Протяните конец промотки и отпустите, чтобы он на несколько сантиметров был длиннее края принтера.
- Закройте крышку и проверьте, чтобы бумага оказалась в прорези. Нажмите клавишу промотки, чтобы чл разматывалась без сложностей.
- Включите опцию печати.
в) Так как принтер является универсальным и может работать с лентой шириной 44, 57 и 79 мм, то для первых двух размеров ширины рулона поставьте ограничитель печати.


Он устанавливается при нажатой кнопке и поднятой крышке (1), внутрь помещается лента. Затем осуществляется её промотка в прорезь и тестируется на предмет свободного хода при печати.
2. Настройка ККМ
Подключение кассы АТОЛ 20Ф к компьютеру требует последовательного подхода.
Предлагается использовать заводские настройки или самостоятельно установить желаемые параметры.
Чтобы настроить функциональные характеристики ККМ, запустите драйвер ККМ (он находится во вкладке «Пуск-Программы-Атол-Тесты»). Затем дождитесь появления страницы свойств, на которой надо сделайте выбор опции «Параметры оборудования» и введите пароль.
Основные параметры позволят отметить желаемые опции принтера.

б) Режим работы определяет назначение. Указываем виртуальную клавишу «для торговли».
в) Отрезчик позволяет осуществить механическое отделение чека при промотке ленты или его отрыв.
г) Пароль для доступа в ККМ нужен для защиты от несанкционированного вторжения в работу системы.
д) Открытие денежного ящика зачастую сопровождается наличием писка (звуковым сигналом).
е) Звук в виде короткого писка устанавливается при включении кассовой системы, на момент окончания рулона с печатной лентой, а также для открытия без кнопки денежного ящика после проведения финансовой операции или сдачи смены (если установлен флажок).
ж) Установкой «галочки» производится разрешение на активацию отрезчика чека после промотки ленты и готового отчёта после их распечатки.
3. Устройства
- Настройка по USB-подключению
Порт 1,2,3 не используются, а порт 4 показал, что выбран USB.
- Настройка по GSM/Wi-Fi
При выборе беспроводной сети допускается подключение через мобильного оператора или Вай-Фай.

При втором варианте предлагается автоматический выбор сети или указание точки доступа. Затем устанавливается пароль, делается выбор канала клавишей, осуществляется шифрование в формате wep, wpa, wpa2, wpa/wpa2 (для open пароль не нужен).
4. Шрифты
Вкладка отвечает за яркость печати, размер пропусков между строками в ленте, высоту печатных символов (предлагается 7 размеров).

5. Печать
Разделители помогают удержать внимание покупателя, улучшив читабельность отпечатанных текстов, печать строки открывает название позиции. Уровень коррекции ошибок QR-кода показывает, нужны ли исправления изображения при печати на ленте. Печать копии сохраняет последний документ для дублирования распечатки.

Расширенные отчёты – это информация за часовой промежуток времени, за смену, по секциям, по кассирам. Остаток ФП показывает, какой объём информации поместится на накопителе.
В форме указываются данные о количестве проведенных, отменённых чеков, возвратах. В ККМ можно добавить ФИО не более 30-ти кассиров.
Печать чека позволяет делать настройки на чл с промоткой или не печатать их на бумаге.
6. Клише или реклама
При желании в «шапку» или низ чека добавляется стандартная информация, касающаяся благодарности за покупку, рекламы, объявлений о наборе персонала, действующих акционных предложениях. Здесь используются кнопка «картинка» и кнопка «Текст». Клише составляется из нескольких строк.

7. Оплата
В зависимости от вида выбранного расчёта, он может выполнять наличными деньгами, снятием с карточки, погашением кредита, электронной валютой. Делается в виде опциональных клавиш предоплаты, постоплаты, аванса, частичного или полного расчёта.

8. Кассиры
Ввод и кодирование сотрудников кассы осуществляется в специальной форме. При получении после отрезчика кусочка чл на ней видно, кто из работников обслуживал покупателя.

9. Налоги
Эта страница содержит все виды используемых коммерческим лицом налогов, которые выбираются при формировании чека. Также имеется возможность пересчитать сумму налоговых платежей после введения скидки на товары.

10. Скидки и надбавки
Опциональная клавиша используется для корректировки цены в зависимости от маркетинговой политики и повышения закупочных цен на товары.

11. Вкладка «Секции» нужна для учёта поступления, продаж и возвратов продукции.

По АТОЛ 20Ф подключение завершено.
12. Экспорт
Вкладка востребована в случае, когда данные по настройке с одного ККМ переносятся на другой ККМ.

13. Замена фискального накопителя
Когда приходит время изъять фн, ККМ выключите, сделайте отсоединение от электросети. На задней панели открутите винты, удерживая, выньте крышку из пазов.

Использованный накопитель бережно извлеките, отсоединив от кабеля. А на его место поставьте новый. Крышку снова прикрутите. Аппарат собран.

Обязательно нужно сделать перерегистрацию ККМ, указав, что выполнялась замена накопителя.
Активация в программе 1С
Установка драйвера
Кассовый аппарат через USB подключается к компьютеру, а затем в систему вводится фискальный принтер.
Открыв вкладку с имеющимся драйвером, сделайте «Настройку свойств».

Дождитесь результата поиска необходимых устройств.

Проверьте наличие контакта с устройством. Внизу показаны результаты поиска в виде модели (панель «Результат»).

Тестовая продажа даст результат относительно правильной настройки принтера. Там, где опция «Устройство включено», поставьте отметку, откройте «Режим регистратора», нажмите кнопку «Войти».
Если всё выполнялось пошагово, дождитесь, пока принтер напечатает чек.
Как подключить АТОЛ 20Ф к 1С
♦ Выберите из папки …\Program Files\ATOL\Drivers\BIN\ документы с расширением *.dll и переместите их в бухгалтерский каталог ..\Program Files\1Сv81\bin\.

♦ Если вдруг автоматический регистратор дал сбой, то следует провести регистрацию вручную. В системном файле вводим команду: regsvr32 «[путь к файлу]\FPrnM1C.dll». Выдержите короткую паузу.

В ответ приходит сообщение об успешном выполнении задачи.
♦ На этом этапе ККТ уже подсоединён к компьютерной технике. Запустите 1С. Удерживая внимание на экране, откройте последовательно серию вкладок: «Помощник подключения и настройки ТО» → «Сервис» → «Торговое оборудование» → «Помощник подключения и настроек».

♦ Сделайте выбор фискальных регистраторов.

♦ Выберите обработку, а после получения списка ориентируйтесь на «АТОЛ: фискальные регистраторы».



♦ Нажмите на мышь, чтобы курсором выбрать модель, кассу и порт для уже подключенного регистратора.

♦ Сразу же приходит на экран сообщение, что устройство запущено и готово к дальнейшему применению.
В АТОЛ 20Ф подключение к 1С выполняет программист или системный администратор.
Подготовка ККТ для работы с ОФД
Оператор фискальных данных (ОФД) затребует информацию о состоянии продаж. Именно для этих целей и применяют фискальный накопитель.
Кажется, что проще всего выполнить активацию через созданную сеть, однако это требует хорошего опыта и фундаментальных знаний. В связи с этим обстоятельством легче произвести подключение через USB.
Настройка выполняется через сервисную программу.
♦ Скачайте и инсталлируйте драйвер ККТ.
♦ Нажмите кнопку «Настройка свойств», а за ней – «Параметры оборудования».
♦ Затем введите пароль специалиста. Если он не менялся изначально, по заводской пароль – 30.
♦ Во вкладке «Основные» выберите опцию «ОФД».
• Вручную добавьте следующую информацию:
Адрес: kkt.ofd-initpro.ru
Порт: 9999
DNS: 0

♦ Перезагрузите ККТ, проверьте сформированное соединение.
АТОЛ 20Ф подключение к 1С: Розница – это возможность полноценного ведения торговых операций, организации учёта по реализации отдельных позиций и торгового оборота, предоставление данные в ФНС за счёт их аккумулирования на фискальном накопителе. С помощью приведенной пошаговой инструкции удаётся успешно подключить ККМ к компьютеру, выполнить необходимые настройки в программах.